Diska Dapat Dicetak
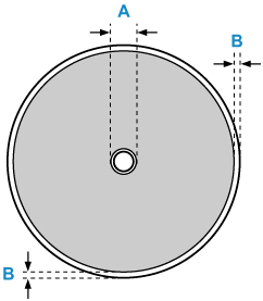
Area pencetakan diska dapat dicetak adalah dari 17 mm (0,67 inci) dari diameter internal sampai 1 mm (0,04 inci) dari diameter eksternal pada permukaan pencetakan.

Area yang dapat dicetak
- A: 17,0 mm (0,67 inci)
- B: 1,0 mm (0,04 inci)

